选择您的地区和语言

AMR传感器(磁性传感器)全向(3D)检测传感器

一种磁性开关,用于检测来自XYZ三个轴或多轴方向的磁场。
可用于检测针对多种设备来自外部的磁场,或不限定磁场方向的大范围磁场。

系列一览

特征

  • 当施加磁场时ON / OFF输出的磁性开关
  • 通过专有的AMR机构实现全向(3D)磁场检测
  • 满足磁簧开关故障和小型化的替换需求

磁场检测示意图

由于全向AMR传感器从XYZ三个轴的各个方向检测非法磁场,因此也可以检测像①到⑤那样的磁铁方向。另一种方式方法是霍尔IC,可以理解成检测来自方向①的磁场。

如果想检测全方向的磁场,与使用多个霍尔IC相比,全向AMR传感器可以做得更紧凑、成本更低。(由于全向AMR传感器的打开 / 关闭距离会根据磁铁的方向而变化,因此打开范围可能不是球体。)

磁场检测图片

全向AMR传感器与磁簧开关的比较

  • 可左右滑动屏幕 请使用横屏浏览
    比较图1
  • 比较图2

上图对磁簧开关和MRMS591P使用相同磁铁时的开启范围进行了比较。
将磁传感器(MRMS591P、磁簧开关)放置在坐标(0,0)处,让铁氧体磁铁(10×6×18mm)从上方逐渐向磁传感器靠近,针对磁传感器开启时铁氧体磁铁与磁传感器之间的距离绘制点图。

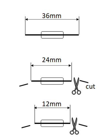
通常,磁簧开关是在对产品进行成型加工后再搭载到电路板上,因此在将磁簧开关的引线部分长度缩短为36mm(未切断)、24mm或12mm后的状态下显示。磁簧开关36mm、24mm、12mm是磁簧开关在不同长度时的开启位置。其他是关闭位置。
MRMS591P在红线框范围内开启。在本例中,将两端进行6mm以上成型加工后使用磁簧开关时,MRMS591P在更宽的范围内开启。

磁簧开关的检测区域类似于全向AMR传感器。
根据磁簧开关的成型加工状态和磁铁,全向AMR传感器的检测区域可能比磁簧开关更大。在这种情况下,即使使用更小的磁铁也有可能实现同样的动作,因此,设备的小型化和布局设计都更加容易。

关于现在的磁铁在多大的范围内开启,请参考AMR传感器仿真工具

通过照片看到的与磁簧开关比较

由于它可以像磁簧开关一样检测打开,因此,在很多情况下不需要更换磁铁。(其他方式需要更换磁铁或布局。)

比较图片1

AMR传感器通常使用与磁簧开关相同的磁铁和相同的配置进行工作。

比较图片2

沿倾斜方向施加磁场时,传统的AMR传感器在达到某一角度后关闭。
(AMR传感器侧的LED熄灭。)

在传统的AMR传感器中,具有当磁铁的磁场从水平施加的状态逐渐变为沿倾斜方向施加时,比磁簧开关更快关闭的特征。

  • 比较图片3
  • 比较图片4
  • 比较图片5

由于全向检测AMR只根据磁场强度进行开启,不受磁场方向影响,因此检测角度比传统的AMR / 磁簧开关的检测角度更宽。
如果磁场有可能从各个方向进入产品,例如防范用途和外部非法磁场等,则全向检测AMR传感器可能比磁簧开关更有利。

应用示例

  • 检测电表中的异常磁场
  • 其他应用,如检测不限定磁场方向的大范围磁场

查询

请通过以下方式咨询有关AMR传感器的购买、疑问及其他多种相关事宜。